酷友社
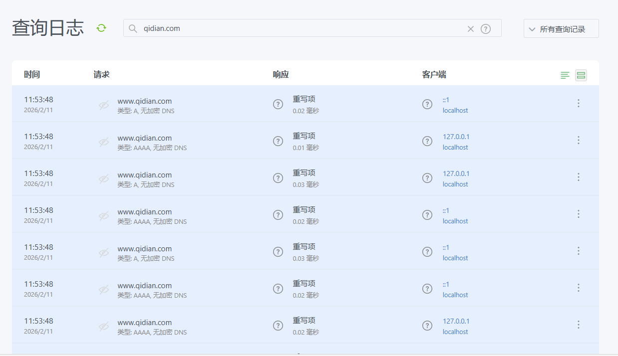
通过ADGUARD发现路由老是自己访问起点网,是什么原因,多台ISTOREOS路由,多个版本都有,谁能解答一下?
【闲聊综合】
雪糕先生
2026 年2 月 11 日 04:10
1
如题!
QQ截图20260211120322
1238×714 36.8 KB